電化學測量系統 HZ-7000系列的原理及特點
1.穩態測試:恒電流法及恒電勢法
所謂的穩態,即電化學參量(電極電勢,電流密度,電極界面狀態等)變化甚微或基本不變的狀態。常用的穩態測試方法,當然就是恒電流法及恒電勢法,故名思意,就是給電化學體系一個恒定不變的電流或者電極電勢的條件。
通常我們可以利用恒電位儀或者電化學工作站來實現這種條件。通過在電化學工作站簡單地設置電流或電勢以及時間這幾個參數,就可以有效地使用這兩種方法啦。該方法用的比較多的地方主要有:活性材料的電化學沉積以及金屬穩態極化曲線的測定等等。

不同掃速下金屬的穩態極化曲線
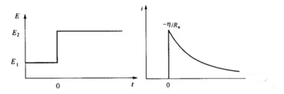
2.暫態測試:控制電流階躍及控制電勢階躍法
所謂的暫態,當然是相對于穩態而言的。在一個穩態向另一個穩態的轉變過程中,任意一個電極還未達到穩態時,都處于暫態過程,如雙電層充電過程,電化學反應過程以及擴散傳質過程等。
最常見的方法要數控制電流階躍法以及控制電勢階躍法這兩種。控制電流階躍法,也叫計時電位法,即在某一時間點,電流發生突變,而在其他時間段,電流保持相應的恒定狀態。

計時電位法電流階躍(左圖)及相應的電勢變化(右圖)
同理,控制電勢階躍法也就是計時電流法,即在某一時間點,電勢發生突變,而在其他時間段,電勢保持相應的恒定狀態。

計時電位法電勢階躍(左圖)及相應的電流變化(右圖)
利用這種暫態的控制方法,一般可以探究一些電化學變化過程的性質,如能源存儲設備充電過程的快慢,界面的吸附或擴散作用的判斷等。計時電流法還可以用以探究電致變色材料變色性能的優劣。
3.伏安法:線性伏安法,循環伏安法
伏安法應該算是電化學測試中最為常用的方法,因為電流、電壓均保持動態的過程,才是最常見的電化學反應過程。一般而言,伏安法主要有線性伏安法以及循環伏安法,兩者的區別在于,線性伏安法“有去無回",而循環伏安法“從哪里出發就回哪去"。線性伏安法即在一定的電壓變化速率下,觀察電流相應的響應狀態。同理,循環伏安法也是一樣,只不過電壓的變化是循環的,從起點到終點再回到起點。
線性伏安法使用的領域較廣,主要包括太陽能電池光電性能的測試,燃料電池等氧還原曲線的測試以及電催化中催化曲線的測試等。而循環伏安法,主要用以探究超級電容器的儲能大小及電容行為、材料的氧化還原特性等等。

左圖為線性伏安測試太陽能電池的開路電壓及短路電流;中間為循環伏安法測試電容行為較強的碳材料;右圖為含有氧化還原行為的電極材料的循環伏安測試

EIS中Nyquist圖譜
HZ-7000 配置了液晶監視器, 是具備存儲功能的小型, 高性能恒電位 / 恒電流測試儀。
以循環伏安法為中心, 可進行各種電化學測量。

HZ-7000 除了可通過以太網進行計算機控制之外, 還可以單機進行基本測量, 是一種小型, 高性能電化學測量系統。
支持各種電化學測量, 是一種可用于從基礎研究到應用研究的各種用途的產品。
HAG1232m:遠程專用機
HAG1232mP:支持遠程, 單機
可單機進行基本測。
(OCP, LSV, CV, CA, CP, NPV, DPV, IR, SCV, OSWV)
可以將測量數據, 測量條件保存到USB 存儲器中, 可以從USB存儲器中讀取測量條件。
在測量RE-WE 間電位的同時, 可對CE-WE間電位進行測量。
最小電流范圍:可用30nA進行微小電流的控制, 測量。
可進行99步之內的任意波形控制(電壓, 電流)
通過選配板卡的追加, 可實現功能擴展。
| 標配測量項目 | 遠程 | 單機 | 標配測量項目 | 遠程 | 單機 | 備注 |
| OCP(OCV | ○ | ○ | LSSV | ○ | - | - |
| LSV | ○ | ○ | DPSV | ○ | - | - |
| CV | ○ | ○ | ZRA | ○ | ○ | - |
| CA | ○ | ○ | OSWV | ○ | ○ | - |
| CP | ○ | ○ | CDC | ○ | ○ | - |
| CC | ○ | ○ | PEIS | ○ | ○ | 需選配的FRA板卡 |
| BE | ○ | ○ | GEIS | ○ | ○ | 需選配的FRA板卡 |
| IR | ○ | ○ | 恒電位8級 | ○ | △(至4級) | - |
| SCV | ○ | - | 恒電流8級 | ○ | △(至4級) | - |
| REST | ○ | - | 任意波形(電位控制) | ○ | - | - |
| NPV | ○ | ○ | 任意波形(電流控制) | ○ | - | - |
| DPV | ○ | ○ |